download articleKarakteristiek van een centrifugaalpomp
Inhoudsopgave
Centrifugaalpompen zijn stromingsmachines ontworpen voor energieverhoging door een draaiende waaier. Daarom wordt ook wel gesproken van een hydrodynamisch pompprincipe.
Volgens dit principe wordt het product versneld door de waaier. In de uitlaatverbinding van de centrifugaalpomp wordt de snelheidsverhoging omgezet in opvoerhoogte. (fig. 1)
Q/H-karakteristiek
Voor centrifugaalpompen is de opvoerhoogte H afhankelijk van de capaciteit Q. Deze relatie, ook pompkarakteristiek genoemd, wordt weergegeven in grafieken.
Op de proefstand wordt de pomp op een vast toerental bedreven en dan wordende waarden van Q en H gemeten. De metingen worden met zuiver water uitgevoerd om vergelijking tussen verschillende pomptypes mogelijk te maken. Uit deze metingen kunnen in een grafiek Q/H-lijnen getrokken worden.
Als eenmaal de hoeveelheid Q is vastgesteld en de opvoerhoogte H is berekend, verkrijgen we het bedrijfspunt van de opstelling. Dit ligt gewoonlijk niet op de Q/H-karakteristiek van de pomp. Afhankelijk van de gewenste opvoerhoogte zal de centrifugaalpomp zijn bedrijfspunt bereiken daar waar de leidingkarakteristiek en de pompkarakteristiek elkaar snijden. De capaciteit neemt toe van Q1 naar Q2. (fig. 2)
Het gewenste bedrijfspunt wordt ingesteld door de pomp aan te passen aan de opgegeven bedrijfsomstandigheden.
Dit kan op de volgende manieren:
Capaciteit regelen
Door een regelafsluiter gedeeltelijk te sluiten of door een smoorklep in te bouwen in de pers van de pomp neemt het drukverlies toe. Zo verschuift de leidingkarakteristiek.
Het bedrijfspunt B1 (snijpunt tussen de pompkarakteristiek en de leidingkarakteristiek) verschuift over de pompkarakteristiek naar B2. (fig. 3)
Let op: Smoren vermindert het rendement.
Een regelafsluiter of inbouw van een smoorklep is een goedkope regeling. Maar in geval van grotere vermogens wordt sterk aangeraden een kostenberekening uit te voeren.
Berekening smoorklep
Het drukverlies van een smoorklep kan vereenvoudigd berekend worden:
| ρ [kg/m3] | |
| Δpv = ζ x ρ/2 x (v1)2 x 10-5 | v1 [m/s] |
| pv [bar] |
(fig. 4)
De waarden van ζ staan in onderstaande tabel:
| Verhouding opening m = (d/D)2 | Weerstandswaarde ζ |
| 0,05 | 800 |
| 0,1 | 250 |
| 0,2 | 50 |
| 0,3 | 20 |
| 0,4 | 4 |
Berekening:
• Neem een waarde voor d, lees uit de tabel ζ en bereken Δpv.
• Wanneer Δpvafwijkt van de gewenste waarde, kies dan een nieuwe waarde voor d en bereken Δpvopnieuw.
Aanpassing van de diameter van de waaier
Aanpassing van de diameter van de waaier is daar van toepassing waar een blijvende vermindering van de capaciteit dan wel de opvoerhoogte gewenst is. De capaciteit van de pomp wordt bij gelijkblijvend toerental gewijzigd naar het gewenste bedrijfspunt door het verkleinen van de diameter van de waaier.
Het bedrijfspunt verschuift van B1 naar B2. Dit is het snijpunt van de nieuwe pompkarakteristiek met de leidingkarakteristiek. (fig. 5)
De gewenste waaierdiameter kan eenvoudig met de volgende formule afgeleid worden:
| N = opgenomen vermogen | ||
| Q1/Q2 ≈ H1/H2 ≈ (D1/D2)2 | N1/N2 ≈ (D1/D2)3 | D = waaierdiameter |
| Q = capaciteit | ||
| H = opvoerhoogte |
Let op: het rendement van de pomp neemt af met de grootte van de aanpassing van de diameter.
Regeling van het toerental
Door het toerental van de pomp te variëren middels een variabele aandrijving of een frequentieregeling kunnen er veel verschillende bedrijfspunten ingesteld worden. Het bedrijfspunt verschuift op de pompkarakteristiek van B1 naar B2. (fig. 6)
Voor wat betreft het rendement is dit de beste manier om de capaciteit te regelen. Een variabele aandrijving of een frequentieregeling brengt echter ook extra kosten met zich mee, die door een kostenberekening geëvalueerd moet worden.
De capaciteit is lineair afhankelijk van het toerental.
De opvoerhoogte is kwadratisch afhankelijk van het toerental.
Het opgenomen vermogen is in de derde macht afhankelijk van het toerental.
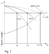
Parallel geschakelde pompen
Als er pompen parallel geschakeld zijn, tellen de capaciteiten bij de gelijke opvoerhoogte op. Dit geldt ook als de pompen verschillende Q/H-karakteristieken hebben. (fig. 7)
In serie geschakelde pompen.
Een meertraps centrifugaalpomp presteert als enkeltraps pompen in serie.
Let op: Een stationaire pomp in een systeem veroorzaakt een aanzienlijk drukverlies. Daarom is het aan te raden om een by-pass te installeren bij pompen in serie.
De totale opvoerhoogte van centrifugaalpompen in serie kan berekend worden door de opvoerhoogte van elke pomp afzonderlijk bij de optredende flow op te tellen. (- - -) ( fig. 8)
Cavitatie
Cavitatie is merkbaar aan het sterk verhoogde geluidsniveau van de pomp. Tegelijkertijd neemt de capaciteit van de pomp sterk af.
Hoe ontstaat cavitatie bij centrifugaalpompen?
De laagste druk in een pomp treedt op bij de inlaat van de waaier. Door die plaatselijke drukverlaging kan een deel van de vloeistof verdampen waarbij kleine dampbellen ontstaan. Deze bellen worden met de vloeistof meegenomen en imploderen direct als ze weer in gebieden met hogere druk komen. Daarbij kan lokaal de druk oplopen tot 100.000 bar.
Als een pomp langere tijd draait onder omstandigheden met cavitatie, treedt er aan de waaier, het pompdeksel en de pompbehuizing slijtage op. Het oppervlak krijgt een pokdalig structuur vol met gaatjes.
Hoe kunnen we cavitatie voorkomen?
Dampspanning
We moeten er voor zorgen dat op elke plek in de pomp de druk van de vloeistof hoger is dan de dampspanning bij de betrokken temperatuur. De dampspanning wordt uit tabellen van de onderhavige vloeistof gehaald.
De NPSH-waarde van de installatie moet minstens 0,5 m hoger zijn dan de NPSH-waarde van de pomp.
Voor een veilig en cavitatie-vrij bedrijf geldt:
NPSHInstallatie > NPSHPomp + 0.5 m
De dampspanning van het product is temperatuurafhankelijk en zal toenemen met stijgende temperatuur.
Bij wisselende temperaturen van het medium moet bij het vaststellen van de NPSH-waarde van de installatie altijd van de hoogste dampspanning worden uitgegaan.
naar boven


bedrijven
